SERVICE PHONE
363050.com发布时间:2026-02-14 07:24:43 点击量:
平博体育,平博真人,平博棋牌,平博彩票,平博电竞,平博百家乐,平博游戏,平博体育官方网站,平博体育网址,平博体育app,平博app下载,平博投注,平博,平博官方网站,平博最新入口,平博赛事,平博足球2026年2月13日,澳大利亚职业联赛(Isuzu UTE A-League Men)第17轮将迎来一场极具看点的较量。西悉尼漫步者(Western Sydney Wanderers)将在主场 CommBank 体育场迎战惠灵顿凤凰(Wellington Phoenix) 。这场比赛不仅是两支积分榜排名接近的球队为争夺季后赛席位而进行的抢分大战,更被赋予了深厚的历史与文化内涵。本场比赛被设定为“多元文化周”(Multicultural Round),旨在庆祝西悉尼地区极具代表性的种族多样性,赛前将举行各类文化表演和庆祝活动 。
更重要的是,两支球队将角逐“友好城市盾”(Sister Cities Shield)。这一奖项建立于2018年,是为了纪念西悉尼的黑镇市(Blacktown City)与惠灵顿的波里鲁瓦(Porirua)之间自1984年便确立的友好城市关系 。这种跨国界的社区联系已经持续了41年之久,涵盖了体育、教育和艺术等多个领域的合作。对于两家俱乐部而言,这场比赛不仅仅是职业联赛的一环,更是社区荣誉与文化认同的象征 。
在竞技层面,西悉尼漫步者正处于动荡后的重组期。俱乐部近期解雇了主教练阿伦·斯塔伊契奇(Alen Stajcic),由经验丰富的加里·范·埃格蒙德(Gary van Egmond)担任临时主教练 。而惠灵顿凤凰在吉安卡洛·伊塔利亚诺(Giancarlo Italiano)的统率下,虽然本赛季客场战绩不佳,但其培养年轻天才和坚持传控足球的风格依然鲜明 。
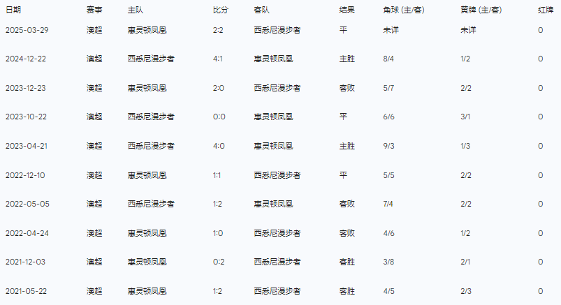
在评估本场比赛的胜负走向之前,必须深入分析双方的历史交锋纪录(H2H)。虽然两队在整体胜场数上西悉尼以17胜略胜于惠灵顿的13胜,但近年的对抗表现出极强的胶着性 。
通过上表可以观察到,西悉尼漫步者在主场面对惠灵顿凤凰时通常具备极强的爆发力,曾在2023和2024年两次大胜对手。然而,双方在过去六场比赛中有三场以平局收场,平局率高达50%,这表明了在现代澳超体系下,双方的战术限制越来越强 。
西悉尼漫步者本赛季的表现处于一种“数据与排名严重背离”的奇特状态。根据最新的联赛排名,西悉尼漫步者位列第12名(垫底),而惠灵顿凤凰位列第11名 。然而,底层高阶数据揭示了不同的故事。
西悉尼漫步者的预期进球数为 23.1,但实际仅打入 13 球,这意味着他们浪费了近 10 个预期进球的机会 。这种巨大的负向偏差在职业足球中通常被视为统计学上的“回归诱因”,即进球数的爆发可能在近期发生。与此形成鲜明对比的是惠灵顿凤凰,其实际失球数(31球)略高于预期失球数(29.7球),这表明其防线确实存在系统性崩溃的问题 。
在个人层面,惠灵顿凤凰的前锋伊费亚尼·埃泽(Ifeanyi Eze)已打入 7 球,是联赛金靴的有力竞争者 。西悉尼方面,虽然科斯塔·巴巴罗塞斯(Kosta Barbarouses)打入 4 球,但他面对老东家时的转化率起伏较大 。中场组织者如迪伦·西克卢纳(Dylan Scicluna)在长传准度上表现出色(场均 6.8 次准确长传,位居联赛第一),这为漫步者的攻防转换提供了核心动力 。
伤病和国家队征召是本场比赛最大的变数。西悉尼漫步者受到了国际比赛日的严重冲击,多名主力球员缺阵。
加布里埃尔·克留尔 (Gabriel Cleur):由于国际比赛任务缺阵 。
艾登·哈蒙德 (Aydan Hammond):国际比赛任务缺阵 。他在进攻端拥有极高的射门频率(场均 0.9 次射正) 。
瑞恩·弗雷泽 (Ryan Fraser):此前的关键得分手,因病/肌肉伤势处于缺阵名单中 。
布兰登·博雷洛 (Brandon Borrello):虽然在某些名单中出现,但存在活跃度不足或伤疑的情况 。
约什·奥卢瓦耶米 (Josh Oluwayemi):主力门将受伤,这对凤凰队脆弱的防线是沉重打击 。
尼古拉·米莱乌斯尼奇 (Nikola Mileusnic):伤疑,可能影响球队的反击速度 。
本场比赛的主裁判是来自澳大利亚的亚当·凯尔西。他是本赛季澳超最引人注目的“出牌狂人”之一。
CommBank 体育场的草坪质量在中期球员调查中仅获得 3.1 分(满分 5 分),与布里斯班狮吼的主场并列为联赛最差 。这意味着球速可能不均匀,更利于身体对抗而非精细的地面传导。
尽管场地质量一般,但该球场的“多元文化周”氛围预计将吸引大量观众。悉尼德比曾创下 33,265 人的上座记录 。由于本场是双重赛(女足先赛),下午的主场热度将一直延续到晚间男足比赛 。
Elo 模型通过球队历史战绩和当前状态来计算预期得分率。西悉尼漫步者虽然排名垫底,但其主场优势和近期防守数据的稳定性使其在模型中获得了较高的胜率支持。
Elo 模型的计算逻辑基于以下事实:西悉尼在主场场均获得 1.33 分,而凤凰队客场防守脆弱,场均失球超过 2 球 。尽管排名相近,但“主场龙”效应和“客场防守黑洞”使得胜率极大地向主队倾斜。
泊松分布常用于预测离散事件(如进球)发生的概率。我们根据双方的进攻能力(GF)和防守强度(GA)设定 $\lambda$(均值参数)。
从模型推演来看,进球数 Over 2.5 的概率为 58.33% 。由于双方防线均有核心缺阵(WSW 边后卫缺席,WEL 门将受伤),比赛出现 3 球或以上的概率显著增加。
当前市场对西悉尼漫步者的信心极强。开盘赔率显示漫步者胜率为 1.61 - 1.66,而惠灵顿凤凰获胜的赔率一度被推高至 5.00 。
西悉尼漫步者。市场认为他们此前的高 xG 会在主场、在新教练上任后的红利期转化为进球。
惠灵顿凤凰。尽管赔率高达 5.00,但分析家指出,凤凰队与漫步者在积分榜上仅差 3 分,且凤凰队拥有联赛顶级射手埃泽 。对于追求高赔率收益的博彩者,惠灵顿凤凰或平局具有“被低估”的价值。
“双方均进球(BTTS)”的概率被设定为 58.69%,这与双方近 6 场惠灵顿凤凰比赛中 5 场出现大比分趋势相吻合 。
西悉尼漫步者在本场比赛中得分第一球的概率高达 62.47% 。在加里·范·埃格蒙德的战术体系下,球队会利用高位压迫迫使凤凰队后卫犯错。鉴于裁判凯尔西的出牌倾向,前 30 分钟可能会出现多次黄牌,打乱凤凰队的传控节奏。
漫步者会频繁利用角球(场均接近 7 个)寻找波日达尔·克拉耶夫和巴巴罗塞斯的空中接应点 。而凤凰队会利用萨普里特·辛格的创造力发起反击。
西悉尼漫步者近期表现出极强的韧性,曾绝平墨尔本城 。如果比赛进入 70 分钟后仍未分胜负,凯尔西的点球哨音极有可能成为决定比赛的关键。西悉尼漫步者在心理层面更占据优势,因为他们本赛季在困境中抢分的记录更佳。
漫步者拥有全联赛最佳的 xGA 防守数据,这意味着凤凰队很难获得多次空档机会;反之,凤凰队的防守漏洞(联赛倒数第二)给了漫步者那些低效率射手极佳的“开账”机会 。
惠灵顿主力门将奥卢瓦耶米的缺阵是致命伤 。即便漫步者射门效率不高,面对替补门将时,更多的射门次数总会转化为进球。
“多元文化周”和“友好城市盾”的双重加持,将为西悉尼球员提供额外的精神动力 。
在这场充满文化气息与竞技张力的对抗中,西悉尼漫步者更有可能凭借扎实的防御基础和主场的高压态势,在 CommBank 体育场捍卫荣誉,不仅留下“友好城市盾”,也为冲击季后赛奠定坚实基础。返回搜狐,查看更多
